Address
Subotički put b.b. 25000, Sombor
Mašine za brušenje i debljenje (štemovanje)

Mašine za bušenje (bušilice) i dubljenje služe za bušenje okruglih otvora, koji idu kroz materijal skroz, ili samo donekle, za izradu čepova i žljebova u elementima koji se spajaju i nastavljaju.
Bušilice se dele: po položaju radnih vretena na vertikalne i horizontalne; po broju vretena — na jednovretenske, trovretenske i viševretenske; po vrsti pomeranja — na bušilice sa ručnim i sa mehaničkim pomeranjem.
Mašine za dubljenje dele se na lančane bušilice i bušilice sa svrdlom; po broju vretena — na jednovretenske i viševretenske; po načinu pomaka — na mašine sa ručnim i sa mehaničkim pomakom. Radna vretena sa alatom za bušenje dobijaju obrtno kretanje od osovine ugrađenog elektromotora. Kod jednovretenskih lančanih glodalica lančano glodalo kreće se prema elementu koga treba obraditi. Kod viševretenskih mašina sto sa elementima koje treba obraditi kreće se prema alatu za dubljenje.
Mašine za bušenje i dubljenje sa mehaničkim pomeranjem imaju po pravilu najmanje dve radne brzine i jednu za prazan hod. Kod mašina za bušenje i dubljenje alat za obradu predstavlja izdubljeno svrdlo koje se obrće i koje je učvršćeno u držač na osovini elektromotora. Ovakva konstrukcija svrdla omogućava da se izrađuju rupe manjih dimenzija.
U tabeli 1 date su tehničke karakteristike osnovnih tipova mašina za bušenje i dubljenje.
Tabela 1: Tehničke karakteristike mašina za bušenje i dubljenje
| Pokazatelji | Jedinica mere | Horizontalna bušilica SVG-3 | Lančana glodalica DCA | Jednovretenska vertikalna bušilica SV-2M |
| Maksimalna širina bušenja | mm | 25 | 16 | 50 |
| Maksimalna dubina bušenja | mm | 100 | 175 | 120 |
|
Dimenzije materijala širina debljina |
mm mm |
250 125 |
250 200 |
– – |
| Broj obrta radnih vretena | min | 3000 | 3000 | 3000 |
| Snaga elektromotora za pokretanje mehanizama za rezanje | kW | 2,2 | 3,2 | 2,2 |
| Snaga elektromotora za pokretanje mehanizama za pomak | kW | – | 0,52 | – |
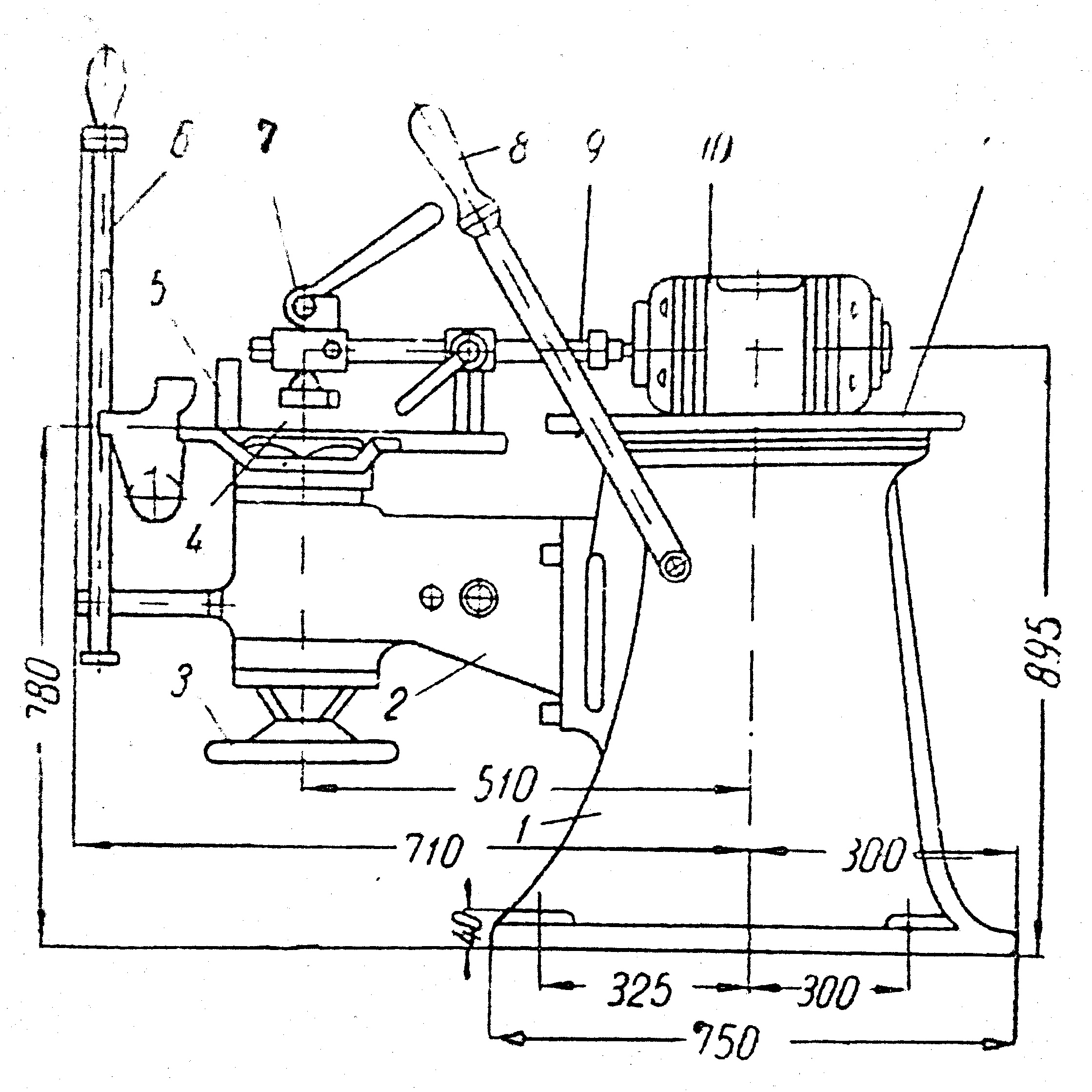
U praktičnom radu preduzeća građevinske industrije za obradu drveta veliku primenu ima horizontalna dugorupna bušilica marke SVGD-3 (sl. 1) na kojoj se mogu bušiti okrugli ovori i izrađivati različiti žljebovi. Isto tako veliku primenu imaju i bušilice za čvorove na elementima za vrata i prozore (sl. 2), jednovretenske lančane glodalice sa ručnim ili mehaničkim pomeranjem (sl. 3). Na ovoj mašini mogu se izrađivati rupe širine od 6 do 30 mm, dubine do 175 mm. Sto mašine može se kretati vertikalno i horizontalno 225, odnosno 400 mm. Izrada rupa može biti i pod uglom. Ovo se postiže okretanjem stola za 30o na obe strane. Prema širini rupe jačina motora može biti 3,2 ili 5,5 kW.

Slika 1: Horizontalna dugorupna bušilica

Slika 2: Bušilica za čvorove marke SvSA

Slika 3: Jednovretenska lančana glodalica DCA – 2
Lančano ogledalo treba približavati elementu koji se obrađuje postepeno, bez naglog pritiskivanja. Brzina pomaka lančanog glodala treba da se usporava sa povećanjem dužine bušenja.
Pri bušenju dugačkih rupa lančano glodalo prvo se udubljuje na jednom kraju rupe, zatim na drugom i najzad na sredini, posle čega se obradi cela rupa. Da se u toku rada održava dubina bušenja, upotrebljava se podmetač, koji treba učvrstiti u specijalni držač, koji postoji na mašini. U jednom pomaku ne treba udubljivati lanac više od 70 mm. Lančano glodalo treba da je domaknuto od vođice najviše 5 – 6 mm.
Brzina kretanja lančanog glodala mora biti 2,5 – 10 m/sek. Brzina vertikalnog pomaka, kad je dubina brušenja 60 mm, iznosi 25 do 30 m/min. Kad je dubina bušenja do 100 mm, brzina za tvrdo drvo iznosi 20 do 30 m/min, a kad je dubina veća od 100 mm, brzina je 10 do 20 m/min. Brzina horizontalnog pomaka je 50 do 70% od brzine vertikalnog pomaka.
Srednja orijentaciona produktivnost lančane glodalice u komadima obrađenih rupa može se utvrditi po obrascu: Psm = 480 Kd Ks / Tmaš, gde je Psm produktivnost u toku jedne smene, komada; Tmaš – mašinsko vreme potrebno za bušenje jedne rupe, min; Ks – koef. iskorišćenja radnog dana, iznosi 0,9; Kd – koef. iskorišćenja mašine, jednak 0,7 – 0,8.
Orijentaciona produktivnost dugorupne bušilice u broju rupa za jednu smenu može se utvrditi po obrascu: Psm = 480 60KdKs/Tmaš, gde je Psm – produktivnost u toku jedne smene, kom. rupa; Tmaš – mašinsko vreme; Kd – koef. iskorišćenja radnog dana, jednak 0,9; Ks – koef. iskorišćenja mašine, jednak 0,6 do 0,8.
Alati za bušenje lančanih glodalica su lančana glodala (sl. 4) koja se stavljaju na vođice snabdevene uređajima za zatezanje.

Slika 4: Elementi lančanih glodala
Lančana glodala sastoje se od pojedinačnih zglobova, spojenih zakovicama. Korak standardnog lančanog glodala iznosi 11,3 mm. Dimenzije lančanih glodala date su u tabeli 2.
Alat i mašine za bušenje svrdla – sl. 5. Svrdla se po pravilu izrađuju u specijalizovanim preduzećima. Izbor jednog ili drugog tipa svrdla zavisi od toga, kakav rad treba obaviti. Tako na prmer za izradu žljebova primenjuju se kašikasta ili spiralna svrdla, za izradu dubokih otvora primenjuju se zavojna, pužasta i zmijasta svrdla; za izradu umetaka i čepova za otvore od ispalih čvorova upotrebljavaju se svrdla za čepove sa podrezačima. Centrična svrdla primenjuju se za izradu plićih otvora.

Slika 5: Svrdla koja se primenjuju pri obrađivanju drveta
Tabela 2: Normalizovane dimenzija lančanih glodala
| Širina lanca | 6,8 | 10 | 14,16 | 18 | 20 | 22 | 25 | 30 |
| Najveća dubina rupe | 60 | 125 | – | – | – | 150 | – | – |
| Širina vođice i lanca | 40 | – | 40,55 | – | – | 55 | – | – |