Address
Subotički put b.b. 25000, Sombor
Veze zakivcima i zavrtnjevima – Nosači opterećeni na savijanje

Nosivost nosača ograničena je u gotovo svim slučajevima izvijanjem pritisnutog pojasa. Ovo se javlja tek onda kada je dostignuta granica tečenja posle izjednačavanja napona svuda u pritisnutoj nožici. Samo uz jaka bočna oslanjanja može da bude povišen podneseni ivični napon do oblasti ojačanja građevinskog čelika. Pri ocenjivanju nosivosti treba uzimati u obzir stvarnu raspodelu napona. Sa pretpostavkom pravolinijske raspodele napona bila bi nosivost potcenjena. Pojave labilnosti treba naročito ispitati.
Odbitak rupa u nosačima opterećenim na savijanje
Na zategnutoj strani nosača deluje slabljenje preseka kao kod zategnutih štapova (cepanje zategnutog pojasa po oslabljenom preseku). Za odbijanje rupa u tome smislu važe ista pravila kao za zategnuti štap.
Pošto rupe ispunjene zakivcima na pritisnutoj strani nosača veoma malo utiču na raspodelu napona i deformacija, a nosivost je većinom ograničena bočnim izvijanjem pritisnutog pojasa, veličina slabljenja preseka kod nosača simetričnih preseka ne utiče znatno na nosivi teret. Stoga je već F. Hartmann postavio pitanje da li je potrebno kod simetričnih nosača uopšte uzimati u račun slabljenje rupama. Kod nesimetričnih preseka (pritisnuta strana jača) može odbitak rupa na zategnutoj strani nosača da postane merodavan za nosivost. Pod često ponovljenim opterećenjem imaju rupe znatan uticaj, čak kad leže na većem rastojanju od ivičnih vlakana.
Danas se u proračunu nosivosti preseka na savijanje koriste bruto i neto presek (pored ostalih merodavnih vidova lomova). Lom po bruto preseku dešava se na delu preseka koji nije oslabljen rupama. Lom po neto preseku se dešava po preseku koji je oslabljen rupama, a površina koja se uzima u obzir jeste bruto površina umanjena za površinu svih otvora.
Zakivci u vratu i u glavi
Pri savijanju se, pored normalnih napona, javljaju i naponi smicanja koji su kod nosača sa paralelnim pojasevima proporcionalni poprečnoj sili Q. Kod složenih preseka primaju napone smicanja u dodirnim površinama između pojedinih valjanih profila zakivci koji ih spajaju. Raspodela sila smicanja T u rebru je parabolična, u pojasevima skoro pravolinijska. Kod nosača sa teškim pojasevima malo se razlikuje T u rebru od prosečne vrednosti Tm, koja ječesto dovoljna za prvu ocenu.

Sl. 1
Zakivci u glavi (sl. 1b) imaju zajedno da prime silu moždanika TK < TH. Sila moždanika između pojedinih pojasnih lamela je još manja i raspodeljuje se za slučaj na sl. 1c i na veći broj zakivaka.
Nastavak nosača
Podužni nastavak vertikalnog lima potreban je kad je visina lima veća od širina limoja koje stoje na raspolaganju. On može biti potreban i s obzirom na izradu i transport. Podvezice i zakivci u podužnom nastavku jednog nosača treba da prime onu istu silu TL, koju bi imao nenastavljeni lim u podužnoj spojnici. Pošto su slabljenja rupama u podvezici podjednaka kao i u vertikalnom limu, debljina podveznice mora biti veća ili jednaka od debljine rebra.

Sl. 2 – Podužni nastavak vertikalnog lima
Poprečni nastavak pod opterećenjem na savijanje može biti na razne načine pokriven podvezicama. Sl. 3 prikazuje više mogućnosti radioničkog nastavka, u kojem je nastavljen samo veritkalni lim. Ako su podvezice samo između pojasnih ugaonika (sl. 3a), ostaju nepokrivene trake vertikalnog lima ispod pojasnih ugaonika. Tada su ugaonici i zakivci u oblasti nastavka vertikalnog lima znatno više opterećeni, stoga ovu vrstu nastavaka treba ograničiti na manje važne veze sa malim silama. Uvek treba davati prednost potpuno pokrivenom nastavku. Naročite podvezice na vertikalnim kracima ugaonika primaju podužne napone ove trake, ali samo neznatno učestvuju u prijemu poprečne sile. Izvesno poboljšanje u tome donosi sl. 3c. Kod velikih sila treba težiti podvezicama po celoj visini vertikalnog lima (sl. 3d), što pretpostavlja da pojasne ugaonike treba prekinuti. Podvezice dobijaju debljinu kraka ugaonika, kod velikih debljina ugaonika koriste se podmetači za izravnanje da bi se štedilo na suvišnoj debljini podvezice.

Sl. 3 – Poprečni nastavak (radionički) vertikalnog lima
Nastavak vertikalnog lima pod opterećenjem poprečnom silom: Nosač je na mestu nastavka opterećen samo sa Q (M = 0). Za nastavak sa podjednakim razmacima zakivaka (sl. 4) treba pretpostaviti da sile u zakivcima NiQ približno odgovaraju odgovarajućem elementu površine e*t spojnice nastavka, tj. da su sile u zakivcima raspodeljene kao i naponi smicanja po visini nosača, NiQ = e*t*τi = e*Ti. Ipak se pri dimezionisanju računa sa ravnomernom raspodelom na sve n zakivke NiQ = Q/n.

Sl. 4 – Nastavak vertikalnog lima sa raspodelom poprečne sile
Sl. 5 prikazuje radionički nastavak vertikalnog lima (pojasni ugaonici i lamele su nastavljeni na drugom mestu).

Sl. 5
Savijanje sa normalnom silom: Nosači koji su istovremeno opterećeni momentima savijanja i normalnim silama dimenzionišu se prema istim principima i pod pretpostavkom pravolinijske raspodele napona. Pri punom odbitku zakivaka u oba pojasa, koristan presek i položaj nulte linije ne zavisi od slučaja opterećenja, tako da se naponi od M i N mogu jednostavno sabrati. Opterećenje zakivaka u nastavku dobija se superpozicijom sila od delimičnih slučajeva opterećenja M, odn. N.
Oslanjanje i priključak nosača
Ovde će biti razmatrana samo najuobičajenija od mnogobrojnih rešenja. Prilikom ocenjivanja uvek treba razmišljati na dopunske sile koje se dobijaju iz odstupanja od više ili manje idealizovanih proračuna otpornosti.
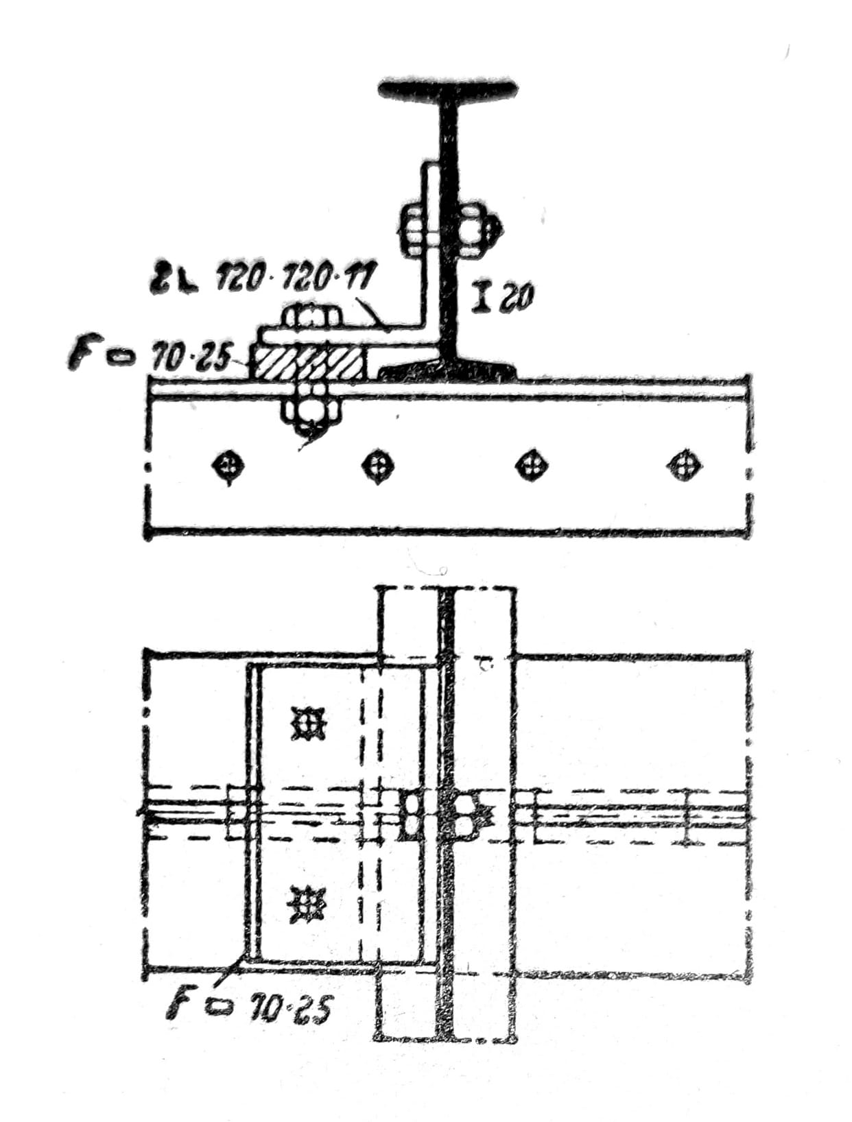
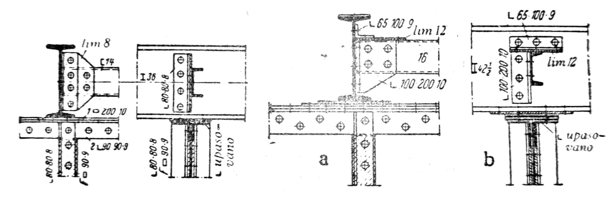
Prosto oslanjanje jednog nosača na gornji pojas nekog drugog građevinskog elementa dolazi u obzir kad stoji na raspolaganju velika građevinska visina. Normalni je slučaj čvrste veze sa zakivcima ili zavrtnjevima. Na sl. 6 prikazano je normalno oslanjanje kontinualnih I-rožnjača u zgradarstvu, koje isto tako izbegava bušenje u uskim I-nožicama. Nosače treba u datom slučaju osigurati protiv prevrtanja kao i protiv poprečnih sila (sl. 7 i 8). U mostogradnji se često nosači sparuju (sl. 9); nepokretno oslanjanje podužnog nosača na poprečni nosač (sl. 10). Nosače treba kod većih oslonačkih sila ukrutiti upasovanim ugaonicima ili navarenim profilima (sl. 8 do 10). Kod složenih nosača opterećenje treba sprovesti u rebro.

Sl. 6 – Pričvršćavanje rožnjača

Sl. 7 i 8

Sl. 9 i 10
Priključak rebra: Na sl. 11 i 12 prikazane su veze I-nosača, koje se koriste u zgradarstvu kao normalni priključci. Isecanje dobija veliko zaobljenje, da bi se izbeglo prskanje rebra nosača. Elastično uklještenje od prikljuučka rebra donosi izvesno povišenje nosivosti. Opisane deformacije su doduše bezopasne pri pretežno mirnom opterećenju, kao npr. kod starijih mostova.

Sl. 11. – Normalni priključci I-nosača sa upravnim krajnjim presekom

Sl. 12 – Normalni priključci sa isečenim krajevima I-nosača
Veze krute na savijanje izvode se kad je potrebna veza bez promene ugla (kontinualni nosači, kruti uglovi okvira) ili kad postoji opasnost od sloma usled zamora pri promenljivom opterećenju, naročito kod železničkih mostova. Mogu se koristiti lamele za kontinuitet, priključci kruti na savijanje. uglovi kruti na savijanje, uglovi okvira.
- Lamele za kontinuitet – Ako treba priključiti nosače koji leže u istoj ravni, onda se spajaju oba gornja pojasa lamelom ili podvezicom za kontinuitet. Tako su zakivci priključka oslobođeni sila zatezanja i izbegnute su velike deformacije.

Sl. 13 – Priključak sa lamelom za kontinuitet

Sl. 14 – Priključak podužnih nosača a) mosta na autoputu; b) železničkog mosta
- Priključci kruti na savijanje – Ovakvu vrstu priključka nalazimo kod punih konzola pešačkih staza drumskih mostova. Kod manjih momenata njihov vertikalni lim je priključen samo dvosečno između ugaonika za ukrućenje glavnog nosača. Uvedeni moment se preko ukrućenja raspodeljuje na celu visinu glavnog nosača, odn. uvodi se u njegove pojaseve kao spreg sila.

Sl. 15 i 16
- Uglovi kruti na savijanje – Uglove krute na savijanje između stubova i podvlaka u zgradarstvu treba tako konstruisati da ugao bude nepromenljiv i da ne nastupe nikakva lokalna prekoračenja napona. Pouzdane veze u uglovima nastaju npr. prema sl. 16 kad se koriste krilni limovi ili prema sl. 100 kad se moment uklještenja u pojasevima stuba primi kao spreg sila.
- Uglovi okvira – Na poligonalnim okvirima nastavak se može izraditi u tački preloma ako je razlika ugla mala; spojeni štapovi pokrivaju se podvezicama kao zategnuti i pritisnuti štapovi. Sile obrtanja su koncentrisane na mesto preloma i moraju biti primljene ukrućenjima. Na sl. 101 obratiti pažnju na razliku u pokrivanju nastavka i ukrućenje, u zavisnosti od smisla momenta savijanja i sila skretanja. U slučaju velikih sila i znatne razlike u uglu, izbegava se da nastavak dođe u jako zakrivljen deo okvira. Nastavci pored uglova okvira dozvoljavaju bolji konstruktivni oblik i olakšavaju izradu. Primere sa zakovanim univerzalnim nastavcima s obe strane tačke preloma daju sl. 102a i sl. 102b, na kojoj se ugao sastoji od zavarenog dela. Na sl 103 pokazuje vezu krutu na savijanje stuba okvira sa kontinualnom prečkom.

Sl. 17a

Sl. 17b
Kosi priključci: Na dosad razmatranim priključcima rebra su uzajamno stajala upravno. Ako ugao međutim, nije prav, onda se ugaonici (sl. 18) razvrću, na vrlo oštrim uglovima upotrebljavaju se klinasti podmetači. Upotrebiti podvezice za kontinuitet i komade za oslanjanje u datom slučaju kao kod pravih priključaka. Savijeni priključni limovi (sl. 19) vezani su sa velikim ekscentricitetom i znatnim dopunskim silama. Izrada kosih priključaka olakšava se kad se koriste navarene priključne pločice (sl. 20).

Sl. 18

Sl. 19

Sl. 20